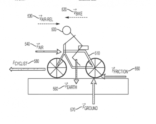
CUPERTINO, Calif. (BRAIN) — Apple Inc. has applied for a patent that would allow for an indirect measurement of a cyclist's power output, by calculating wind resistance, road surface smoothness, rider position, heart rate and accelleration. The application suggests that by using these factors, gathered from a wearable device that has a GPS, accellerometer, heart rate monitor and other features, it could calculate rider power without the expense of a traditional power meter.
The application, filed Thursday, might suggest that Apple wants to up its game against Garmin, which has seen continued sales growth of its wearables and bike-related products, although Apple's Watch continues to dominate sales in the smart watch category.
The patent application calls for using a wearable device, such as a watch, that would be able to determine the rider's position on the bike, including whether the rider's hands were on the handlebar tops or drops. The system would use known factors, including road grade, traveling direction, speed, and rider position to estimate wind speed and direction and, ultimately, estimate power output.
Last year, Apple was granted 2,102 patents, according to IFI Claims.

